深圳市瑞沃德生命科技股份有限公司品牌商

19

手机商铺

qrcode
商家活跃:
产品热度:
  • NaN
  • 0
  • 1
  • 2
  • 1
品牌商

深圳市瑞沃德生命科技股份有限公司

入驻年限:19

  • 联系人:

    瑞沃德

  • 所在地区:

    广东 深圳市 南山区

  • 业务范围:

    实验室仪器 / 设备、试剂、耗材

  • 经营模式:

    生产厂商 经销商 代理商

在线沟通

公司新闻/正文

玻璃微电极拉制常见问题详解,开启高效稳定拉制体验

1285 人阅读发布时间:2022-03-21 11:32

我们在实验过程中,使用拉制仪时难免会遇到各种疑问:

水平拉制仪和垂直拉制仪有什么不同?哪个更好用呢?
玻璃微电极的阻抗如何保持稳定?
使用到什么程度需要更换加热片?……

别担心,本期九大常见问题解答,让你的困扰轻松解决!

Q1:拉制仪的拉制原理是什么?

依据加热源而分,常见加热源为铂铱合金加热片,较少为二氧化碳激光。固定玻璃管后,通过对铂铱合金加热片接通恒定电流产生高温从而融化插入合金片中的毛细玻璃管;通过重力作用或者施加额外拉力将中间融化的毛细玻璃管向两侧分步拉断成尖端对称的两个玻璃微电极;通过调节拉制参数(热量、拉力、速度、定时/延时),拉制出不同尖端形状的玻璃微电极。

Q2:可以在哪些实验场景中用到拉制仪?

场景一为电生理相关的刺激和记录微电极的制备,主要是检测离子通道微弱生物电信号的膜片钳实验;场景二为显微注射实验所用注射针的制备,包括细胞核注射、斑马鱼注射、线虫注射、胞浆内精子注射、病毒脑立体定位注射等;场景三为细胞选择、采集、转移及吸取所用微电极的制备;场景四为微流控芯片技术中液流管路及液流控制系统制备;场景五为新型印刷电路及3D打印技术中喷头的制备等。

Q3:水平拉制仪和垂直拉制仪有什么区别?

垂直拉制仪,使用加热丝并接通电流对玻璃管中部加热并达到熔点,依靠重力的作用拉断玻璃管。操作简单,但拉制显微注射用电极较为困难。

水平拉制仪,通常采用微控制器控制其拉制过程,将玻璃管两端水平固定,加热其中部,利用电动力或弹力作单次或多次拉制,玻璃管两端同时受力从而拉断。可通过调节拉制参数(热量、拉力、速度、定时/延时),拉制出满足更多不同需求的玻璃微电极。总体来说,水平拉制仪优于垂直拉制仪,控制比较精确,拉出的电极参数比较稳定,而且电极尖端口径及锥体形状变化较小。

Q4:提供的注射类拉制模板没有满足需求,如何调试参数获得目标微电极?

主要方法是在使用拉制模板的基础上对单个参数或多个参数进行调整。一般拉制仪提供多个实验场景的拉制模板,涵盖了膜片钳实验及各类显微注射实验。

变长调试:优先增加速度、其次是热量。注意观察电极形态,当达到某一值后,电极形态不再发生变化,此时可同时增加速度和热量。

变长变硬:①先调整长度,然后修剪;②同时改成定时模式,设置为1,拉力最好为0。

变短调试:优先降低速度、其次是热量。注意观察电极形态,当达到某一值后,电极形态不再发生变化,此时可同时降低速度和热量。

新闻图片1

Q5:玻璃微电极的阻抗如何保持稳定?

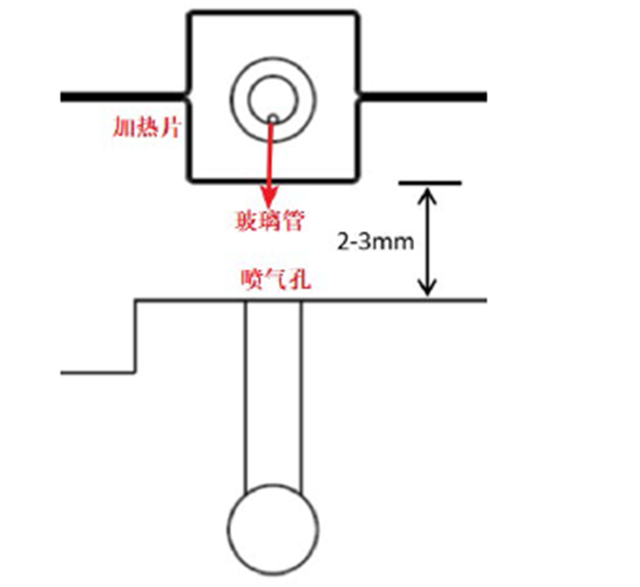
①仪器检测:开机预热十分钟左右,检查加热片、玻璃管及喷气孔的相对位置是否保持正确,测试软化点后开启夹钳预热模式。

②参数调试:首先膜片钳微电极拉制一般是4步或5步循环;其次速度中值的调试能确保循环次数的稳定,从而保证阻抗的稳定。具体来说,以推荐参数为基础,增加或减少速度,以得到不同的循环次数,找到循环4次和5次的速度区间,并得到对应的速度中值,测试循环4次和循环5次的速度中值对应的阻抗,并与目标阻抗比较,选择阻抗更接近目标阻抗的速度中值进行调试。

新闻图片2 图 检测仪器各部件的相对位置

Q6:不同型号的加热片应该如何选择呢?

以瑞沃德MP-500水平拉制仪为例,显微注射类实验推荐使用2545B型号,该加热片最宽,便于拉出较长的尖端;显微注射实验与膜片钳实验(>5MΩ)推荐使用3030B型号;膜片钳实验(1-10MΩ)推荐使用3025B型号,该加热片最窄,便于拉出较短较硬的尖端。

Q7:使用到什么程度需要更换加热片?

观察到加热片表面有明显的变形,烧痕或划痕等情况,可以考虑更换加热片。根据使用频繁程度,一般3-6个月亦可考虑更换。

Q8:什么时候需要测试软化点呢?

软化点的含义是能够使加热片产生足够热量从而软化玻璃管的电流值。其中提及到两个重要物件,加热片及玻璃管。因此当使用的加热片或者玻璃管的型号发生改变时均需要重新测试对应的软化点。一般测试3次,取最大值即可。

Q9:干燥剂什么状态下需要更换呢?

干燥剂干燥状态下为蓝色或者蓝紫色,吸潮后变成粉红色。当干燥剂大部分为粉红色时(一般2/3时),更换干燥剂。干燥剂较多使用无水硫酸钙。

 

看到这里

是不是许多问题都已迎刃而解

还有惊喜,免费试用→RWD 等你来试

赶紧抢先体验吧~

新闻图片3

*下期内容为拉制仪常见耗材选购小贴士,持续关注呦

上一篇

@科研人#说出你最想了解的科研实验资料,快来留言资料免费领(征集)

下一篇

详解微循环血流仪变迁史,提前剧透新一代激光散斑血流成像为何更强大

更多资讯

我的询价